698KB 2001 null null null null 3 2003 null Ho1zkyvrFJpTbM View larger
  • John deere mower deck wheels shop
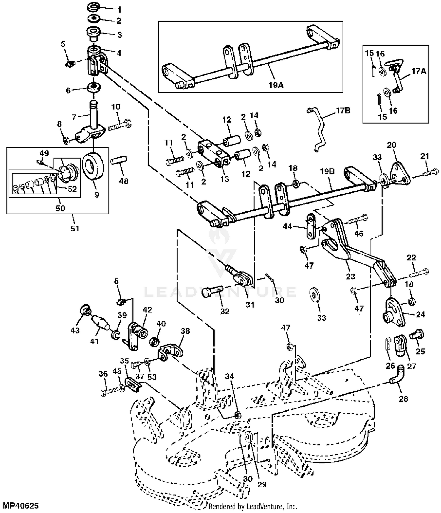
  • John Deere MOWER DECK Mower Deck Lift Linkage and Caster Wheels 1.22 M 48
  • John deere mower deck wheels shop
  • How To Correctly Set the Deck Wheels on a Riding Lawn Mower Tractor
  • John Deere 400 60 Mower Deck Rebuild

John deere mower deck wheels shop

John deere mower deck wheels shop, 698KB 2001 null null null null 3 2003 null Ho1zkyvrFJpTbM shop

$98.00

SAVE 50% OFF

$49.00

- +

Add to wishlist


Frasers Plus

$0 today, followed by 3 monthly payments of $16.33, interest free. Read More


John deere mower deck wheels shop

698KB 2001 null null null null 3 2003 null Ho1zkyvrFJpTbM

When and How to Change Anti Scalping Wheel Axles on your John Blog

John Deere MOWER DECK Mower Deck Lift Linkage and Caster Wheels 1.22 M 48

2 Pack Mover Deck Wheel AM116299 Fits for John Deere 38 48 Decks AM133602 M111489 Replacement Wheels 5 x 2 1 2 Amazon Patio Lawn Garden

How To Correctly Set the Deck Wheels on a Riding Lawn Mower Tractor

John Deere 400 60 Mower Deck Rebuild

Description

Product Name: John deere mower deck wheels shop
yourour AM125172 Deck Wheel Kit Compatible with John Deere 48 54 60 72 Deck Lawn Mowers Replace oem AM125172 4PCS Amazon Patio Lawn Garden shop, Parts 4 Outdoor Deck Wheels for John Deere 4pk and 6pc Hardware kit AM133602 AM116299 M111489 Amazon Patio Lawn Garden shop, 4 mower deck gauge wheels for John Deere 425.445.455 replaces AM115488 48 54 shop, 48C 54C 62C Mower Deck Gage Wheel Arm for John Deere AM131289 for 42 44 48 shop, Deck Wheel Kit 4PCS Compatible with John Deere 48 54 60 72 Deck Lawn Mowers Part AM125172 Amazon Patio Lawn Garden shop, AM125172 Gauge Wheel Kit fit for John Deere 48 54 60 72 Deck Tractor Mower Deck Wheel Kit 4PACK Replace for AM124706 210 300 Amazon Patio Lawn Garden shop, Deck Wheel Kit Fit for John Deere 48 54 60 72 Deck Lawn Mowers AM125172 eBay shop, AM125172 Gauge Wheel Kit fit for John Deere 48 54 60 72 Deck Tractor Mower Deck Wheel Kit 4PACK Replace for AM124706 210 300 Amazon Patio Lawn Garden shop, 4 60 Mower Deck Wheel 425 445 455 755 855 AM107561 for John Deere shop, 4pk Plastic Deck Wheel Kit John Deere 48 shop, SET THE MOWER DECK WHEELS ON YOUR JOHN DEERE 100 SERIES shop, Replacement Part Deck Wheel Wheels Replaces John Deere Gx10168 W Bolts L110 L130 D110 D140 D170 5 X 2 shop, John Deere 48 54 HD mower deck gauge wheel guide YouTube shop, Adjust your mower deck wheels Your Backyard Tips shop, Deck Wheel Kit John Deere 318 316 400 420 Etc shop, The ROP Shop Deck Wheel Kit for John Deere 54 Deck 120 140 300 312 314 Lawnmower Tractor Amazon Patio Lawn Garden shop, AM125172 Gauge Wheel Kit fit for John Deere 48 54 60 72 Deck Tractor Mower Deck Wheel Kit 4PACK Replace for AM124706 210 300 Amazon Patio Lawn Garden shop, When and How to Change Anti Scalping Wheel Axles on your John Blog shop, 8TEN Deck Wheel for John Deere GX345 X320 X500 M111489 AM133602 4 Pack 810 CDW2225R Walmart shop, Education needed on Mower Deck Wheels My Tractor Forum shop, 698KB 2001 null null null null 3 2003 null Ho1zkyvrFJpTbM shop, When and How to Change Anti Scalping Wheel Axles on your John Blog shop, John Deere MOWER DECK Mower Deck Lift Linkage and Caster Wheels 1.22 M 48 shop, 2 Pack Mover Deck Wheel AM116299 Fits for John Deere 38 48 Decks AM133602 M111489 Replacement Wheels 5 x 2 1 2 Amazon Patio Lawn Garden shop, How To Correctly Set the Deck Wheels on a Riding Lawn Mower Tractor shop, John Deere 400 60 Mower Deck Rebuild shop, 54D Mower deck wheel bracket repair Green Tractor Talk shop, John Deere Mower Deck Front Wheels 72 in shop, JOHN DEERE MOWER DECK WHEELS shop, DIY Mower Deck Moving Storage Wheels for John Deere Tractor shop, X300 48 in. X Rotatable Wheels Mower Deck John Deere shop, Mower Deck Gauge Wheel Arm Shaft Left Front Right Rear on 54C 62C Mowers for John Deere Tractor Lawn Garden Tractors GX345 GX355 2210 4010 GT225 GT235 X465 shop, Deck Wheel Kit For John Deere Mowers Replace AM116299 M111489 AM133602 M84690 shop, John Deere Mower Deck 62D Drive Over 2520 2720 CUT Rear Gage Wheels 2 3 shop, Deck Wheel For John Deere 1023E 1025R 1026R 2032R 2038R 3033R 2038R 3039R 3045R eBay shop.

John deere mower deck wheels shop